The Onwa TV Chassis
Circuits for this chassis at bottom of page.
All information is supplied as per our site terms below.
Author: Steve Beeching I.Eng. M.R.T.S.
There are many local repairers who have come across brand names containing the ONWA TV chassis in various guises without knowing it.
In most cases it is recognised that a 12V zener diode in the line output stage, D402, fails and
that the cause of failure is probably C911; then replacing both components effects a repair.
However, there are times when component damage within both the primary and secondary circuits occurs including blowing a hole in the field IC and displacing capacitor foil out of the container.
Predominantly the rise in HT from 112V up to nearly 300V causes the damage.
It is less well known that component failures other than C911 within the power supply can contribute to the rise in HT supply, often observed by the customer as the sides coming in or variable width.
While I was in the process of redrawing the circuit diagram I noticed that a small portion of circuit seemed to perform the function of monitoring the HT supply, and then further on to cut a 5V supply to the micro controller, thereby shutting down the TV. At the same time another manufacturer and other service centres had had the same notion.
Concern was expressed
that the circuit did not always complete its function, hence the reports of major component damage. I have been asked not to
mention the possibility of excessive X-ray radiation when the HT supply is very high - so I won’t! This detection circuit has
been referred to as Over Volts Protection and X-ray protection, although in my opinion there is little difference and I tend to
call it Over Volts Protection as that is what it is.
The reason why the circuit did not always work is that R663 in the collector
of Q401 prevents Q401 from fully switching off ZD603. The zener current is about 13mA and shunting the zener with 680
ohms reduces the current to 3mA. Also we have to take into account that the 17V supply will have increased under fault
coditions and the zener current increased proportionally . Under these conditions the zener voltage is still valid. Where
measurements have been made, the 5V supply to the micro controller has been seen to fall to as little as 3.8V and the TV still
continues to function.
Demonstrating a high degree of responsibility JVC (UK) Ltd has issued a technical bulletin, Ref. E15, in which they advise
that certain power supply components must be replaced in order to improve the performance and reliability of the power supply.
Kits are available with improved components for the power supply. R663 is replaced by a short and R401 is increased
to 47K. In my view R663 should be a value less than 100R, say 47R, to reduce the possibility of damage to Q401 when it
switches on, as C637 will discharge its full capacity into Q401. It is possible that Q401 can stand the current considering that
it will only happen in the event of a power supply failure and this is less likely once the improved components have been
fitted.
The JVC kits for all C-14E1, C-14ET1 and C-S21M3, C-21ET1 models are upgrade kits, not service kits. They must
be fitted to TVs in the workshop for any type of repair as a routine upgrades.
In order to further assist the trade, distributors who support EESI are making repair kits available. These are not official
repair kits as none exist as such, but they are sufficient both to repair and to upgrade the TVs
A full description of the power supply operation will be in the new service manual along with advice on how to run and test
the power supply non destructively. There are additional reports covering other known faults to assist with rapid repairs.
The following makes and models should be upgraded when subjected to repairs.
Bush/Alba: 1402, 1407, 1418, 1419, 1427T, 1452T, 1455T, 1456T,1458T,1459T, 2002, 2004, 2009B, 20052T, 2054T,
2102, 2152T. Matsui: 1498, 1455, 2086, 2098. Goodmans: 1430R, 1430W, 2019R, 2029T. JVC: C-14E1EK, C-14ET1EK,
C-S21M3EK, C-21ET1EK. Akai CT1417, CT2159U, CT2159UT, CT2162UNT, C2862UNT. The following may have similar
circuitry but this is unconfirmed. Bush/Alba: CTV841, CTV840, CTV510, CTV701 and Hinari HIT14RC.
There is a kit available from distibutors including following components: Q402/404, Q904, VR901, C406, C904, C905,
C907, C402, C909, C911, C910, C914, C915 (for 21”), D401, ZD401, ZD901, ZD902, R419/425, R412/434, R914, R902.
R663/667 (20”/21”) is either 47R or short circuit.
Click here for more details of publications available from Steve Beeching
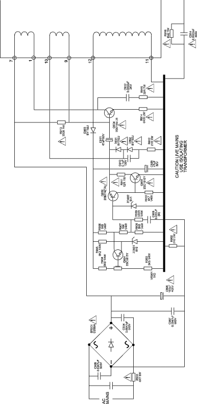
Onwa chassis protection circuit, To enlarge image Click here
Onwa chassis P.S.U circuit, To enlarge image Click here
Copyright © 2000 - 2003 - E.C.S
Site Design & Layout © 2000
All Rights reserved
All Information is supplied as per our Site Terms.
Use of this site deems your acceptance of these terms.
Click links to view our Site Terms and Privacy Policy


|